Printable DB
2001 Gmc Jimmy 4wd Vacuum Diagram
baby announcement cards free template
business loan agreement template south africa
business letter of intent template word
2002 crown victorium engine diagram
bill of sale utah printable
50th birthday party invitations free printable
2006 toyota tacoma wiring diagram
accountability chart template
Front Drive Axle Vacuum Actuator Solenoid Valve
2001 Chevy S10 4x4 Zr2 Need Vacuum Hose Diagram Or Picture
Diy How To Replace 4wd Vacuum Actuator Switch On A Blazer S10 Jimmy How To Troubleshoot 4wd Issues
1997 S 10 Blazer Vacuum Diagram Blazer Forum Chevy
Front Drive Axle Vacuum Actuator Solenoid Valve
Gm Troubleshooting Part 13 4wd Vacuum Actuator Cable Diagnosis
Under Hood Vacuum Hose Replace Blazer Forum Chevy Blazer
00 Zr2 Transfer Case Vacuum Hose Diagram S 10 Forum
Front Drive Axle Vacuum Actuator Solenoid Valve
1997 S 10 Blazer Vacuum Diagram Blazer Forum Chevy
Solved Need Vaccum Hose Diagram For 2002 Gmc Sonoma 4x4 Fixya
Solved I Need A Vacuum Lines Routeing Diagram For A 1985
00 Zr2 Transfer Case Vacuum Hose Diagram S 10 Forum
Transfer Case Vacuum Line Route Blazer Forum Chevy
Chevy Blazer Gmc Jimmy 4wd Transfer Case Vacuum Switch Location 4x4 Repair
Gmc Sonoma Chevy S 10 Transfer Case Vacuum Switch
2001 Chevy S10 4x4 Zr2 Need Vacuum Hose Diagram Or Picture
Chevy Blazer Vacuum Hose Diagram On 94 Chevy S10 4x4 Vacuum
2001 Gmc Jimmy Vacuum Hose Diagram Questions With
Diagram Gmc Sonoma Vacuum Diagram Full Version Hd Quality
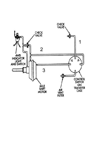
Vacuum Lines There Are 3 Vacuum Lines That Run From The Top
Source :
pinterest.com
Popular Posts
Free Printable Price Signs
Field Notes Template Pdf
Free Website Templates For Dog Breeders
Excel Daily Vehicle Inspection Checklist Template
Drawing Conclusions Worksheets High School
Kymco Part Catalog
Intern Cover Letter Template
Free Download Rg 550 Wiring Diagram Image
Diagram Of Compressor Valve
Free Printable Preschool Worksheets Letter I
Crf230f Wiring Diagram
Cruise Control Wiring Schematic 2002 Camaro
Free Sales Commission Report Template
Downloadable Excel Social Media Content Calendar Template
Fund Fact Sheet Excel Template
Credit Card Authorization Form Sample
Electronic Payslip Template
Informational Interview Request Sample Letter
Guest Book Sign In Sheet Template
Free Health Worksheets For Middle School
Electric Meter Box Installation Instructions
Hammerhead 150cc Go Kart Wiring Diagram
Employee Handbook Template Word Free
Good Behavior Chart Template
Dreamweaver Website Templates Free
Hardwood Flooring Invoice Template
Control Plan Sample
Free Printable Felt Christmas Ornament Patterns
Hair Fiber Evidence Worksheet Answer Key
Flower Label Template
Elder Care Certification Program
Fillable Paycheck Template
Inkjet Printable Canvas
Cub Scout Certificate Templates
Kirby Vacuum Wiring Diagram
Land Pride Mower Wiring Diagram
Email Marketing Templates Size
Free Printable Recipes Cards
Gift Card Holder Template Cricut
Fuse Box For 2004 Jeep Grand Cherokee
Homemade Boxes Templates
Discount Neuter Certificate
Hand Piecing Quilt Templates
How To Write A Salary Negotiation Letter Sample
F250 Fuel Filter Housing
Finance Mba Resume Format
Hake Fish Diagram
Free Html Email Templates For Outlook
Free Printable Blood Glucose And Food Log Printable
Feliway Coupon Printable
Ecological Succession Worksheet Answers
Free Commercial Sublease Agreement Template Word
Digital Receipt Template
Dual Switch Light Wiring Diagram
Cpr Certification Nyc Online Free