Murphy Powerview Wiring Diagram

Murphy has released a new software package that allows stationary and off highway engine oems the ability to configure its powerview display according to their needs.
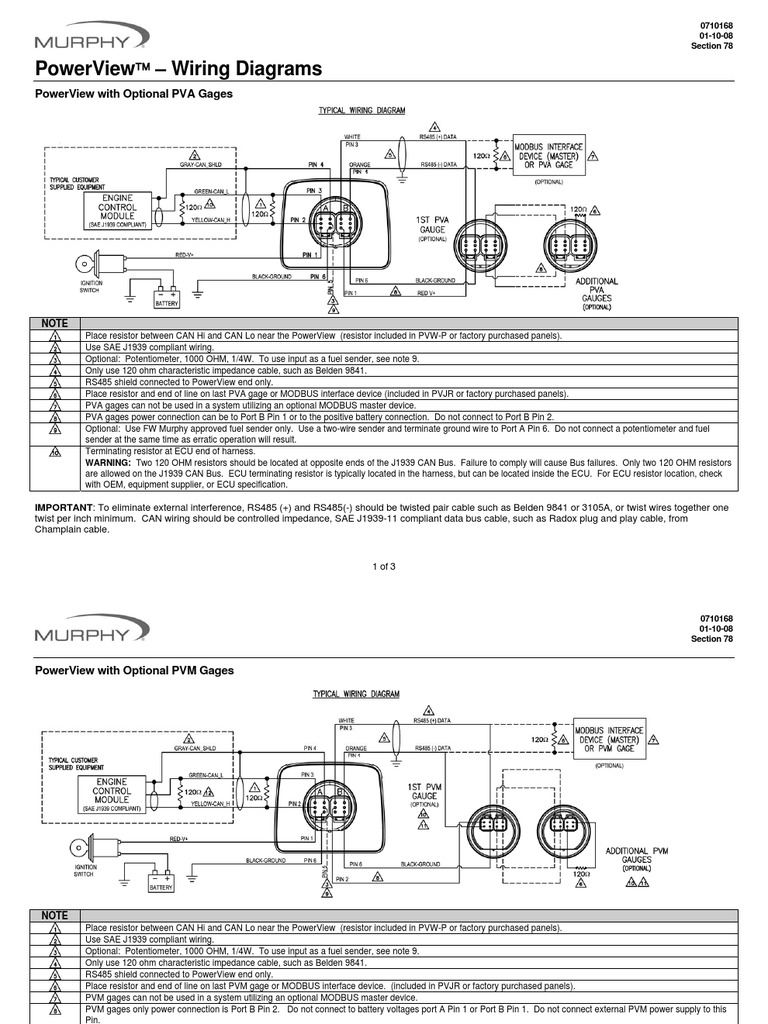
Murphy powerview wiring diagram. The murphy powerview 380 features robust multifunction displays for advanced monitoring of multiple electronic engines. Pv101 c version 32 manuals and literature. Powerview wiring diagrams powerview with optional pva gages note place resistor between can hi and can lo near the powerview resistor included in pvw p or factory purchased panels. View and download murphy powerview pv350 r2 installation manual online.
The pva gauges communicate with the powerview via a single rs485 twisted pair modbus rtu serial link. To use input as a fuel sender see note 9. November 05 2019 1728. Potentiometer 1000 ohm 14w.
Use murphy 2 wire fuel level sender model es2f. Model powerview can loose wiring wiring harness designation part number pvw cc 24 78 00 0127. Fuel level input for pv101 only. Powerview 101 offers a simple connection to optional components and displays over 50 standard sae j1939 parametersthe powerview pv101 display is a multifunction tool that enables equipment operators to view standard engine and transmission parameters and activestored trouble codes.
Wiring diagrams 0710168 pva gage wiring harness accessories 03020 pvm gage wiring harness accessories. Powerview wiring diagrams powerview with optional pva gages. The display can show a single or a four parameter simultaneous display with text descriptions. Murphy powerview users guide.
Can be calibrated to use non murphy fuel senders. Murphy systems isspro gauges specialty instruments electrical murphylink j1939 system the powerview analog gauges pva are a series of intelligent gauges designed to display easy to read information transmitted by the powerview. Powerview pv350 r2 monitor pdf manual download. With the new pv101 c 32 software engine.
Its capable of monitoring multiple engines and machine parameters on an easy to read 38 inch 97mm qvga monochrome lcd. If optional pvw pw30 is used and a murphy fuel sender is not used connect the blue wire in the pvw 30 harness to v or ground. A copy of the warranty. Use sae j1939 compliant wiring.
The chart below the diagram includes the harness schematic to help you with selection of wiring leads length if applicable. Warranty a limited warranty on materials and workmanship is given with this fw murphy product. Analog input function must be set to fuel level.